系统管理
公告管理
用户登录系统,如果当前系统存在公告,则弹窗显示公告信息。
单击“下一条”可以看下一个公告信息,单击“上一条”可以看上一个公告信息,单击“快速跳过”则关闭当前窗口,下次登录后仍旧弹窗显示未查看过的公告信息。 单击当前弹窗右上角的“x”关闭按钮,同“快速跳过”按钮。
单击系统右上角的小喇叭按钮,可显示当前系统的公告列表。
单击公告主题,可查看公告详情。

消息中心
普通用户登录平台,单击 “系统管理 > 消息中心” 或者单击右上角的消息中心图标,打开消息中心页面

1.显示当前普通用户可接收的所有未读的消息列表,包括:类型(告警通知)、内容(告警信息、通知信息)、状态(未读)、到达时间、已读时间,消息的显示、查询统一由“查询”按钮控制。
2.对于告警,消息中只显示严重的告警信息。
3.可以统一标记为已读或批量删除。
4.可通过下拉列选择查看已读、未读、所有消息,可通过下拉列选择对消息类型进行筛选,可填写输入框对消息内容进行模糊查询。
日志管理
平台提供了日志管理功能,普通用户登录平台后,单击 “系统管理 > 日志管理” ,即可进入日志管理界面。
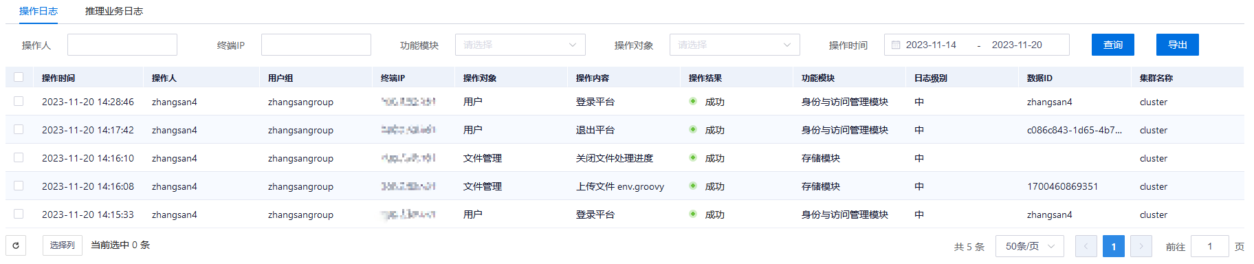
操作日志
功能说明:普通用户登录系统,单击 “系统管理 > 日志管理 > 操作日志”。该页面提供系统操作日志查看功能和导出功能,如下图。系统日志包括用户登录、登出、更新、删除、创建等操作,记录操作人、操作时间、用户组、终端IP、操作对象、功能模块、数据ID、集群名称等信息,方便普通用户查看用户操作记录,追溯操作历史。

1.日志查询:普通用户可以根据操作人、终端IP模糊查询,按照操作时间、操作对象、功能模块过滤查询。输入操作人、终端IP,选择操作时间范围、操作对象、功能模块,单击查询按钮。列表中展示符合条件的数据。仅支持最近半年的日志数据查询。
2.日志导出:选择好查询条件,单击导出按钮,可以导出查询到的日志文件,文件格式为txt。
3.普通用户只可以看自己的操作日志。
注意:无论是查询还是导出,限制时间范围为半年。
推理业务日志
在业务范围是训推、推理下可用
进入“系统管理 > 日志管理 > 推理业务日志”,可查看模型部署、应用部署、原生部署、helm部署运行状态正常的服务的日志,非正常状态的服务不进行展示和下拉框选择。 推理业务日志的查询条件包括:场景、业务名称、实例名称、容器,时间;用户可以自定义时间,也可以使用快捷时间,快捷时间包括:5分钟、15分钟、30分钟、一小时、3小时、6小时、12小时、1天、7天、14天。 单击“导出”,可对查询到的日志进行下载操作。日志列表中的内容包括:
| 名称 | 说明 |
|---|---|
| 时间 | 日志时间 |
| Pod | 产生日志的Pod |
| 容器 | 产生日志的Pod的容器 |
| 日志 | 日志内容 |
| 加载更多 | 加载更多日志 |
| 返回顶部 | 返回日志顶部 |

审批管理
平台提供了审批管理功能,普通用户登录平台后,单击 “系统管理 > 审批管理” ,即可进入审批管理界面,审批管理包含“审批列表”一个模块。
审批列表
普通用户可以在“审批列表”界面查看自己已提交的审批申请,列表内容包含:ID、业务名称、业务操作、申请人角色、审批人、审批状态、审批意见、执行结果、申请时间、审批时间、操作。
审批列表支持按照审批状态排序,默认按照申请时间排序。

支持按照业务名称、审批状态、申请时间进行查询数据。
| 查询条件 | 说明 |
|---|---|
| 业务名称 | 下拉框中勾选业务名称的精确匹配 |
| 审批状态 | 下拉框中勾选审批状态,支持勾选多个的精确匹配 |
| 申请时间 | 选择开始时间、结束时间范围内的精确匹配 |
单击“查询”按钮,审批列表中显示与查询条件匹配的审批申请信息。
详情
普通用户可以对审批列表内所有审批申请进行“详情”操作,可查看具体申请业务操作的详情信息。

撤销
普通用户可以对审批列表内自己提交的待审批状态的审批申请进行“撤销”操作。执行“撤销”后,该条审批申请变为撤销申请状态。
删除
普通用户可以对审批列表内非待审批状态的审批申请进行“删除”操作,支持批量删除,审批申请被删除后将不在审批列表中展示。
服务调用数据
在业务范围是训推、推理下可用
使用服务调用数据功能的服务总数统计
进入“系统管理 > 服务调用数据”,将展示使用服务调用数据功能的服务总数,包括原生部署,通用模型和应用部署的服务。
使用服务调用数据功能时,通用模型和应用部署在部署时需选择“开启日志”,原生部署需添加rrcollector相关的annotations和label。原生部署示例如下:

存储空间占用统计
进入“系统管理 > 服务调用数据”,可按场景查看服务调用数据中数据所占的存储空间大小。存储空间的单位为MB。
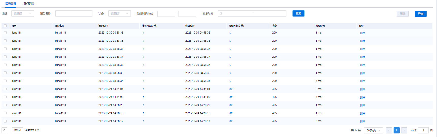
回流数据
进入“系统管理 > 服务调用数据”, 查看回流数据列表。
查询请求/响应数据
查询:用户可按场景,服务名称,处理时长,状态(状态值可以选择预置值,也可以进行填写,填写的值除预置值外只支持精确匹配),请求时间来筛选服务的请求信息。表格具体展示的信息包括:
| 名称 | 说明 |
|---|---|
| 场景 | 服务所在场景 |
| 服务名称 | 服务名称 |
| 请求时间 | 请求服务的时间 |
| 请求内容 | (字节) 请求体字节数 |
| 响应时间 | 服务的响应时间 |
| 响应内容 | (字节) 响应体字节数 |
| 状态 | 响应状态 |
| 处理时长 | 此次请求的处理时长 |
| 操作 | 删除按钮 |

查看具体请求/响应数据:单击请求内容/响应内容的字节数,将查看到请求/响应的文本数据和文件数据,其中文本数据直接展示,文件数据需要下载查看。
删除数据
单击列表中每条数据后面的删除,可删除数据。

单击列表中的数据的复选框,选择要删除的数据,单击列表上方的删除,可批量删除数据。

导出数据
文件生成:查询数据,单击导出按钮,开始生成导出文件。限制条件:文件不能超过1G,超过1G生成失败,同一用户同时只能生成一个文件。若生成成功,导出按钮后给出文件名,可以进行下一步的下载操作,若导出失败,则导出按钮后给出失败原因。
文件下载:单击文件名称后面的下载进行导出文件的下载。
文件保留机制:生成的文件仅保存一天,也可以单击文件名后的删除进行手动删除。
服务列表
进入“系统管理 > 服务调用数据”, 将展示使用服务调用数据功能的服务列表。
查询服务调用数据服务列表
用户可按场景,服务名称,创建时间来筛选服务信息。表格具体展示的信息包括:
| 名称 | 说明 |
|---|---|
| 场景 | 服务所在场景 |
| 服务名称 | 服务名称 |
| 创建时间 | 服务创建时间 |
| 创建人 | 服务创建人 |
| 数据回流地址 | 回流地址即为数据转发地址,也即此服务产生的请求响应数据会向回流地址转发一份 |
| 操作 | 查看回流数据和编辑按钮 |
![]() |
回流数据关联查看
单击每个服务操作栏中的“查看回流数据”按钮,跳转到回流数据页面,展示该服务的回流数据。
修改数据回流地址
单击每个服务操作栏中的“修改”按钮,填写相应的回流地址。回流地址添加完成后,设置的回流地址将会收到相应服务的请求和相应数据。
API授权
在业务范围是训推、推理下可用
普通用户可以创建,更新,查询,删除API授权信息。
创建签名
普通用户可以选择场景,服务名称,输入截至日期、qps、源地址、签名名称信息创建API授权。

更新签名
普通用户可以选择某条API授权信息,单击“更新”,输入截至日期、qps、源地址、签名名称信息更新API授权。

查询签名
普通用户可以按照场景,服务名称,签名名称查询API授权信息。

删除签名
普通用户可以选择某条API授权信息,单击“删除”,删除API授权。

复制签名
组管理员可以选择某条API授权信息,单击“复制”,复制API签名。

AK/SK签名认证
功能说明:开启开发权限的用户可以进行刷新SK、查看SK、设置SK有效期操作。
刷新SK信息:刷新AK/SK签名认证SK信息。二次认证开关开启时刷新需进行二次认证,通过后刷新SK信息。
查看SK信息:查看AK/SK签名认证SK明文信息。二次认证开关开启时查看需进行二次认证,通过后明文展示SK信息。
SK有效期:首次开启开发权限后,默认7天有效,可设置为永久有效或选择有效截止时间。
